编辑:佚名 来源:财经新闻网
来源:国际金融报
6月19日,记者从民生信托处获悉,针对近期违约的金凰珠宝相关信托计划,其已协调大股东支持,对6月到期的投资人资金进行兑付。
记者了解到,此次民生信托是调集资金对信托计划进行了先行兑付。那么,相关项目问题何时能够得到最终的解决呢?
对此,民生信托相关部门负责人告诉记者,目前公司方面采取的方式是积极敦促保险公司履约理赔,严格依法履行受托职责,保障信托财产价值,并及时披露进展情况。
据了解,相关违约的金凰信托计划增信措施为“保险公司承保+实物黄金质押”。其中,保险人交付给受益人的标的黄金应经过双方认可的具有黄金鉴定资质的第三方检测机构检测合格。如质量和重量不符合保险单约定,即视同发生保险事故,由保险人承担全部赔偿责任。
信托机构作为受托人,为保险单的第一受益人。保险单还特别约定:标的黄金的质量和重量由保险人承保,在受益人需要处置标的黄金时,保险人有义务对受益人予以配合。
据悉,民生信托依照合同于2019年12月27日向金凰方发送《贷款提前到期通知书》,宣布相关融资提前到期,并提起司法程序,此后武汉市中级人民法院依法对部分质押黄金进行了查封。
不过,2020年5月22日,武汉市中级人民法院向民生信托送达的检测报告显示,质押黄金质量和重量不符合保险单约定。
据民生信托方面透露,在相关金凰信托计划中,保险公司作为保险人主持了质押黄金交付的全过程,包括但不限于质押黄金的出库、检测、运输、清点、封存过程,此外民生信托与人保财险和大地财险为共同管理人,只有“指纹+身份证件+钥匙”验证通过时,存放黄金的保管箱方可开启。
而在对抵押物黄金进行处置前,第三方机构再次对抵押物做了检测,结果却显示黄金质量和数量不符合保险单约定。
民生信托方面表示,公司第一时间通过官方电话95518报案、EMS邮寄、现场送达等方式向人保财险提起保险索赔,并敦促其履行保险合同,但对方并未按合同约定按时赔付。
事实上,为金凰珠宝进行融资的信托公司不止一家。
据相关媒体报道,2016年至今,金凰珠宝融资项目涉及长安信托、昆仑信托、北方信托、东莞信托、民生信托、恒丰银行等7家信托公司和1家银行。截至目前,风险敞口达数十亿元,其中部分信托计划已延期。
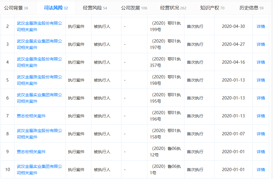
记者注意到,目前金凰珠宝已在多起相关案件中被列为被执行人。

有意思的是,天眼查信息显示,金凰珠宝为贾志宏100%持股,与此同时贾志宏还是武汉金凰实业集团有限公司(下称“金凰实业”)的实控人。而金凰实业的大股东之一出现了东莞信托的身影,持股比例达到34.78%。


对于相关兑付问题进展如何、权责如何划分的问题,记者将进一步关注。

责任编辑:唐婧